FILTRO AUTOLIMPIANTE
Separador combinado
FILTRATIONSANLAGE VON INDUSTRIELLEN FLÜSSIGKEITEN

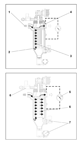
Caracteristicas del funcionamiento del filtro autolimpiante
1. La suspensión bruta entra tangencialmente en el espacio anular del filtro automático hacia abajo.
2. La suspensión bruta es desviada 180º. Debido a la desviación y al efecto ciclón del flujo tangencial se produce la separación de las sustancias sólidas gruesas.
3. La suspensión atraviesa el elemento filtrante. Las partículas se depositan en el elemento filtrante.
4. El líquido filtrado llega al recinto limpio y abandona el filtro.
5. Cuando se alcanza la presión diferencial máxima (opción)o un tiempo previamente establecido o bien por mandato del sistema de mando de máquinas herramienta, se desencadena la limpieza .
6. El elemento filtrante es puesto a girar mediante un motor reductor. La válvula de limpieza y la válvula de presión externa se abren. A causa de ello se crea un salto de presión entre el distribuidor de flujo rápido y el canal de flujo rápido. El medio externo fluye desde el interior del elemento filtrante hacia fuera al canal de descarga y desprende la torta del filtro. La presión del filtrado o el caudal volumétrico del filtrado disminuye durante la limpieza.
7. Periódicamente, pueden vaciarse las partículas que se acumulan en el lado bruto.
Utilizado para ...
- Filtración de líquidos lubrorrefrigerantes
- Filtración de productos
- Separación preliminar dentro de cascadas de filtros
- Filtración protectora antes y después de diversos pasos del proceso
- Filtración de proceso
El filtro auto limpiante utilizado en nuestros equipos es adecuado para la extracción por filtración de materias sólidas de líquidos de baja viscosidad, p. ej.:
EQUIPO DE FILTRACIÓN PARA ACEITES Y TALADRINAS · CINTAS TRANSPORTADORAS
Juma
Gain / on Gain
Juma + gain
JUMA Reinigungssystem
Selbstreinigender Filter
Jaso
Igo 