iragazki autogarbitzailea
Bereizgailu konbinatua
Likido industrialak iragazteko ekipoa

Iragazki autogarbitzailearen funtzionamenduaren ezaugarriak
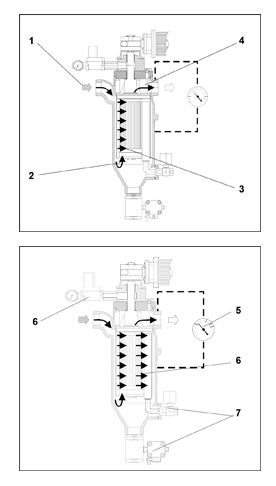
1. Esekidura gordina zeharka sartzen da iragazki automatikoaren eraztun-espazioan, beherantz.
2. Esekidura gordina 180º desbideratzen da. Fluxu tangentzialaren desbideratzearen eta zikloi-efektuaren ondorioz, substantzia solido lodiak bereizten dira.
3. Esekidurak elementu iragazlea zeharkatzen du. Partikulak elementu iragazlean geratzen dira.
4. Iragazitako likidoa esparru garbira iritsi eta iragazkia uzten du.
5. Presio diferentzial maximora (aukera) edo aurrez ezarritako denborara heltzen denean, edo makina-erreminten aginte-sistemak aginduta, garbiketa abiarazten da.
6. Elementu iragazlea motor erreduktore baten bidez hasten da biratzen. Garbiketa-balbula eta kanpoko presio-balbula ireki egiten dira. Horregatik, presio-jauzi bat sortzen da fluxu azkarreko banagailuaren eta fluxu azkarreko kanalaren artean. Kanpoko ingurunea elementu iragazlearen barrutik doa kanporantz deskarga-kanalera, eta torta iragazkitik askatzen du. Iragazketaren presioa edo emari bolumetrikoa murriztu egiten da garbiketan.
7. Aldian-aldian, hustu egin daitezke alde gordinean metatzen diren partikulak.
Honetarako erabiltzen da ...
- Likido lubrikatzaile/hozgarrien iragazketa
- Produktuen iragazketa
- Aurretiazko bereizketa iragazki-jauzien barruan
- Iragazketa babeslea prozesuaren hainbat urratsen aurretik eta ondoren
- Prozesuaren iragazketa
Gure ekipoetan erabiltzen den iragazki autogarbitzailea egokia da likatasun txikiko likidoak iragazki bidez erauzteko, adibidez:
OLIOAK ETA TALADRINA IRAGAZTEKO EKIPOA · ZINTA GARRAIATZAILEAK
Juma
Gain / on Gain
Juma + gain
juma garbiketa-sistema
iragazki autogarbitzailea
Jaso
Igo 